问鼎娱乐电子游戏 一种带有健身功能的椅子的制作方法

本发明涉及椅子,特别是具有健身功能的椅子,该椅子属于健身设备领域。 背景艺术: 由于其特殊设计,该健身椅使您可以进行更广泛的练习,从而取得令人惊讶的结果。这种健身椅可以完全放松身体的其他部位,并将自己的力量集中在腹部上。它不会像仰卧起坐一样在脖子上承受很大的压力,这很酸,因此可以很好地避免AB健身椅子在停止训练时非常适合男人和女人。 具...
日期: 栏目:举重训练椅 阅读:289

问鼎娱乐电子游戏 多功能健身椅使用技巧

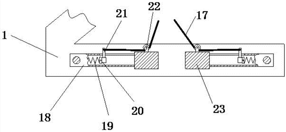
为了健康,许多人选择去健身房锻炼身体,但这会很耗时。多功能健身椅的出现解决了耗时且昂贵的问题,人们可以充分利用自己在家的休息时间来实现锻炼的效果。那么,您知道如何使用多功能健身椅吗?让我们一起学习下面。 多功能健身椅使用技巧 一般的多功能健身椅包括座椅,靠背,椅子腿,一组扭转弹簧机构和一对L型移动式扶手。在可移动的扶手的两端,都有垂直于它...
日期: 栏目:举重训练椅 阅读:291

问鼎娱乐电子游戏 【健身椅】健身按摩椅功能 多功能健身椅

健身椅 健身椅是室内辅助健身设备。它的功能包括单个和多功能的健身椅,使您下班后可以轻松运动。健身椅的一般功能包括仰卧起坐,哑铃功能,按摩功能,腿部抬高,上臂运动,上臂运动,容易锻炼,上臂伸展,倒立运动等,但特定功能是基于的关于消费。需要它的人会选择他的需求。 健身按摩椅功能 健身按摩椅是其滚筒机构和连杆机构的巧妙组合。通过机械机制,人们...
日期: 栏目:举重训练椅 阅读:266

问鼎娱乐官网下载 欧芝按摩椅怎么那么便宜 哪个牌子的按摩椅好

如今问鼎娱乐官网下载,人们的生活水平越来越好问鼎app官网下载安装,他们越来越多地关注生活中的享受,因此在装饰房屋时,他们可能会选择按摩椅。在按摩椅上使用它真的很舒适,市场上有许多不同品牌的按摩椅,而且价格也不平衡。关于为什么Ouzhi按摩椅如此便宜,哪种品牌按摩椅好,我将在下面给您一些建议。进行相关介绍。 为什么Ouzhi按摩椅这么便...
日期: 栏目:举重训练椅 阅读:268

问鼎娱乐 健身房器材怎么使用才正确呢,看过来

免费设备 哑铃,波速球,瑞士球,药球,TRX绳索,弹性绳,壶铃,杠铃,泡沫滚筒 固定乐器 龙门问鼎app官方下载,腿卷发机,腿部弯曲机问鼎娱乐下载入口,鞋跟抬起机,水平杆,平行杆,仰卧板,罗马椅子,牧师凳,黑客机器机踏板机,史密斯机器,胸部推动机,胸部推动机,悍马机,胸部夹具训练机划船机,下拉机器,地雷框架,肩推,有氧设备 蝴蝶机和飞鸟有...
日期: 栏目:举重训练椅 阅读:275

问鼎娱乐电子游戏 雷蛇风神X电竞椅使用心得:功能丰富,设计出色

“哪种外围设备为您打开了新世界的大门,使用后您不能回去?” 我对这个问题的回答是:电子竞技主席。 在我使用Razer Wind God X E-Sports椅子一段时间后,这个想法是最直接的感觉。这确实使我体验了我以前从未有过的安慰,​​支持和信任。 让我们与您分享用户体验的结合。 简单快速安装 与我以前对电子竞技椅的理解不同,剃须刀X...
日期: 栏目:举重训练椅 阅读:265

问鼎娱乐下载链接入口 菜鸟劝退,以下高招不适小白

运动方法很困难且容易,健身水平在初中。特别注意避免受伤的运动方法,尤其是要谨慎练习。 自主重量平行杆臂屈曲 如果您刚刚开始进行力量训练,请不要被此举所吸引。它在肩膀上施加了很大的压力,这可能会导致锁骨和肋骨的断裂,甚至撕裂胸部肌肉。新手在训练长凳上进行手臂屈曲和延伸要容易得多。 坐起来 如果您想运动腹部肌肉或改善背部健康,仰卧起坐并不...
日期: 栏目:举重训练椅 阅读:233

问鼎娱乐app苹果下载 宅家也能锻炼!试试南医体育老师原创“椅子健身操”!

在预防和控制流行的关键时刻,诚实地呆在家里意味着为社会做出贡献。但是在家里的“ n”日,您经常看Douyin直到无法停止?腹部越来越丰富吗?浪费而僵硬的肩膀和脖子? 为了促进更多的运动和增强免疫力,南科德大学体育系的Yu Jing和老师Zhao Bingjing副教授为所有人创建了一套原始的“椅子有氧运动”,这是一种健康的运动,特别适合“...
日期: 栏目:举重训练椅 阅读:255

问鼎app官网下载安装 健身椅使用方法示意图(健身椅使用方法示意图)

本文将告诉您有关如何使用健身椅以及如何使用健身椅的相应知识点的图表。我希望这对您有所帮助,不要忘记将此网站添加为书签。 本文中如何使用健身椅的示意图 由于生活压力的增加,人们现在正在关注自己的身体健康。有些人选择去健身房锻炼身体,但这会很耗时。目前,合适的健身椅可以产生良好的效果,这使人们更方便锻炼,健身椅的基本结构和使用是什么?一般而言...
日期: 栏目:举重训练椅 阅读:253

问鼎娱乐下载链接入口 产后八个月可以跑步吗,产后八个月怎么瘦肚子

跑步是许多人喜欢的一种运动形式。它不仅可以在减肥中发挥作用,还可以锻炼身体,这是很大的好处。但是,攀爬并不是减肥的简单方法。登山者需要相对强大的体格和运动基础。编辑认为,攀岩不适合产后妇女。那么,还有其他适合产后母亲的减肥方法吗? 我可以在分娩八个月后跑吗 分娩后,最关心的女性最关心的问题是她们的身材是否可以从苗条中恢复过来。一些新妈妈不...
日期: 栏目:举重训练椅 阅读:250