问鼎app官网下载安装 多人大空间训练仿真系统

1. 系统概述

基于系统仿真、虚拟现实、模拟器、图形学、人工智能等技术,对战场环境、武器装备、战斗人员进行详细建模,构建接近现实的三维战场空间,提供身临其境的体验。训练体验问鼎app官网下载安装,利用先进的显示和传感器技术,模拟受训者的视觉、听觉等感官,让受训者即时、灵活地与战场空间中的实体进行交互,从而达到在反复试错中获得经验、积累经验的目的。 。

2. 方案说明

针对实际训练场地要求,定位空间约为140平方米(可定制范围)。内容基于Unity3D或Unreal引擎定制开发。训练时,可以联网多人(≥7人)进入同一内容场景进行训练。学员佩戴VR耳机后可以自由行走、奔跑、跳跃。训练过程中,他们可以在VR训练场景中实时看到所有训练队员虚拟角色的体型、手指信息、武器信息,并且这些信息与现实动作同步。同比。

3. 显示模块原理

1、沉浸式大空间多人战斗原理演示:

单人器训练综合实训报告_单人 综合训练器_单人训练器怎么操作

学员戴上头盔后,可以在沉浸式训练单元中自由走动,完成训练单元。训练单元由中央控制台和辅助设备组成。在中控台的控制下,每个学员可以共同实施一个训练项目,也可以单独进行训练。中央控制台可控制训练单元的启动、关闭、训练科目、训练过程、综合考核等操作。

沉浸式训练单元由空间定位模块、动作捕捉模块、便携式工作站和头戴式显示器组成。

定位空间模块由灯塔、灯塔控制器、网络模块组成。其工作原理如下:

(1)灯塔控制器通过网线向灯塔供电并传输数据。

(2)光塔控制器级联,通过网线传输数据。

(3) 所有灯塔控制器均通过WLAN口连接至路由器的LAN口。

(4) 路由器通过其他LAN口连接到控制PC,便携式工作站通过WIFI连接到路由器。

(5) 这样灯塔、灯塔控制器、控制计算机、便携式工作站等设备都在同一个局域网下。

(6)STEP全身动作捕捉跟踪器。 STEP定位跟踪手套被灯塔的面光源和激光信号扫描后,将自身相对于灯塔的角度和九轴信息打包,并通过USB连接发送到便携式工作站。 STEP定位枪通过5G WIFI和动作捕捉连接进行数据传输。

(7)便携式工作站接收跟踪器发送的数据,通过定位算法服务计算出跟踪器的虚拟位置信息。

(8)IK算法在收集跟踪器位置信息后计算角色的姿势,并通过头戴式显示器显示。

2、定位系统原理概述:

定位系统由发射器和接收器两部分组成:

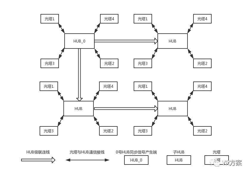
发射机由多个标准空间单元组成。每个标准空间包含一个HUB和四个灯塔,它们通过网线连接。单个空间HUB控制灯塔的工作模式和工作状态。灯塔根据HUB给出的信号在需要的时间点亮。多个空间可以通过 HUB 之间的级联来协同工作。级联时问鼎娱乐电子游戏,ID为0的HUB产生同步信号,其他HUB不产生同步信号,而是直接使用HUB_0的同步信号。

单人器训练综合实训报告_单人 综合训练器_单人训练器怎么操作

(1)发射端:包括激光扫描装置、过零信号发射装置、同步装置、中央控制单元

1)灯塔:

发射端灯塔数量为每单位面积4个,单元可无限级联。

灯塔结构具有双扫描方向并包含两个扫描模块。每个扫描模块包括激光发射器、反射器、波镜、电机和面光源。

2)枢纽:

每个单元定位空间内有一个HUB。

HUB的结构包括同步发射装置和用于灯塔控制的通信端口。

HUB内有同步信号发送装置,可以发送同步信号,控制系统同步。

HUB通过自己的通讯口连接到它控制的各个灯塔,控制各个灯塔的工作模式。

不同单元HUB之间的连接可以实现大空间定位的无限扩展,即将不同定位单元的HUB连接在一起,共同控制各个单元的工作模式和工作状态,实现所有灯塔的同步。

3)控制器:

控制器用于连接HUB,通过程序控制整个定位空间内的所有HUB和灯塔。

控制器可以实时配置整个工作网络的工作模式和状态。

控制器可以实时监控整个系统中各个灯塔和HUB的工作状态。

(2)接收端:包括信号接收单元和定位计算单元

单人 综合训练器_单人器训练综合实训报告_单人训练器怎么操作

1)追踪器:

跟踪器包括光敏传感器、九轴、CPU、内存等。

跟踪器上光敏传感器的数量根据所使用的定位算法而变化。可以有一个或多个。

跟踪器中的九轴用于计算姿态信息,在不同的算法中扮演着不同的角色。有时它为整个系统提供姿态解算,有时用于遮挡情况下的辅助姿态解算问鼎app官方下载,有时甚至没有九轴。 。

跟踪器中的光敏传感器接收到激光信号后,可以利用自己的CPU和内存计算出自己的位姿信息。

3、动作捕捉说明:

(1) STEP 15点动作捕捉

单人训练器怎么操作_单人器训练综合实训报告_单人 综合训练器

STEP 15点动作捕捉由15个跟踪器组成。 15点全身动作捕捉可分为上半身动作捕捉和下半身动作捕捉:上半身动作捕捉分为头部跟踪器、背部跟踪器、两个上臂跟踪器、两个前臂跟踪器和两个手跟踪器;下半身动作捕捉分为一个腰部追踪器、两个大腿追踪器、两个小腿追踪器和两个足部追踪器。

全身动作捕捉跟踪器基于STEP定位算法计算各个跟踪器在虚拟空间中的位置信息; STEP IK算法在获得各部位的虚拟位置信息后,计算并生成虚拟角色姿态。

(2)STEP定位追踪手套

这种动作捕捉除了跟踪和定位角色的姿势外,还可以定位和跟踪手指的姿势。手势交互是一个复杂的系统。手指由多个骨骼和肌肉组成,可以做出复杂的动作。在训练模拟系统中,大量的交互需要使用手势来完成,因此手势交互系统非常重要; STEP定位手套通过布置在手指关节上的传感器和STEP开发的程序算法,可以高精度地捕捉和计算五个手指的每一个细微动作。

4、单人佩戴装备展示:

单人可穿戴设备由沉浸式头盔显示系统、STEP全身动作捕捉系统、IK动作捕捉系统、可穿戴背心、手势交互识别系统、便携式可穿戴工作站、STEP定位枪组成:

单人 综合训练器_单人器训练综合实训报告_单人训练器怎么操作

沉浸式头盔显示系统:主要用于支持学员展示训练环境,提供高度沉浸式的虚拟训练场景显示功能。

STEP全身动作捕捉系统:主要用于跟踪学员的运动位置,为学员提供虚拟场景中的全身定位识别功能。

可穿戴背心:所有装备都可以集成并穿戴以完成战术行动演练。

STEP定位枪:主要用于虚拟训练中展示学员的武器装备。

手势交互识别系统:主要用于识别学员的手势,为虚拟训练场景中的虚拟学员提供手势交互功能。

便携式图形计算系统:主要为学员提供虚拟场景的计算生成功能。

IK算法:主要用于识别学员的身体运动姿势,为虚拟训练场景提供虚拟学员姿势功能。

关键词:

客户评论

我要评论