问鼎娱乐下载入口 保友优旗舰2代,真不愧是人体工学椅的天花板,坐一天都不觉得累

从事自媒体三年多的时间里,我换过至少6把椅子,从最早的普通椅子、办公椅,到电竞椅、现在的人体工学椅。人体工学椅是我用的时间最长的,也是坐着最舒服的。以前上班从来不注意椅子,一天坐七八个小时,后来发现脊椎、腰椎等身体部位都不舒服,我才意识到臀部下面的椅子有多重要。不要像以前我一样,以为自己年轻身体好而忽略了这些。对于长期坐在桌子前的现代人,...
日期: 栏目:举重训练椅 阅读:290

问鼎娱乐下载入口 糕妈:38岁有俩娃,却比年轻时更飒?这4个习惯我坚持了6年,变化太大

有兴趣的可以直接点图片,扫码添加我们的福利官小助手(直接加好友就行),过几天团购开始就会及时收到通知哦~ 划船机:Moby 这台划船机是高霸2020年从闲鱼买的,可以锻炼到身体大部分的肌肉。 不要以为它平放时会占用太多空间。事实上,它可以像这样直立存放,不会占用太多空间。 但它却窝在这个角落里很久了,懂的人就知道原因了。(因为主人...
日期: 栏目:举重训练椅 阅读:292

问鼎娱乐电子游戏 糕妈:37岁生俩娃,还能保持90斤?这个习惯我坚持了5年,变化太大了

这里还有一个小建议供您坚持:如果您觉得骑自行车太无聊,您可以边骑车边看电视剧,这样您就不会觉得那么累了。 我们将在3月7日上午11点半的健身产品直播中详细介绍这款动感单车的功能和使用方法,有兴趣的话可以点击下方按钮预约直播哦~ 划船机:Moby 这台划船机是高霸2020年从闲鱼买的,可以锻炼到身体大部分的肌肉。 不要以为它平放时会占用...
日期: 栏目:举重训练椅 阅读:280

问鼎app官网下载安装 邱老师2020年度爱用

大家晚上好,祝大家2021年万事如意,阖家欢乐,最重要的是平安健康。 山治前几天路过一个快拍亭,拍了一张照片发到了朋友圈: 邱老师这时大声唱道: 只要我们还活着,就应该庆祝 但我相信2021年会更好,我们一起努力 第一个最喜欢的是一条工作规则: 番茄工作法 这种工作方式很多人都应该知道,特别适合效率低下,容易分心的人...
日期: 栏目:举重训练椅 阅读:255

问鼎娱乐 37岁生俩娃,还能保持好状态?这个习惯我坚持了5年,变化太大了

这里还有一个小建议供您坚持:如果您觉得骑自行车太无聊,您可以边骑车边看电视剧,这样您就不会觉得那么累了。 今天这款Wild Beast动感单车不仅是双11最低价,我们还会自掏腰包给你返现!价格绝对超值~ Wild Beast 动感单车 M2M 每日价格:1949元 好处 1 10月24日 20:00起 缴纳100元定金 价格:1349 送...
日期: 栏目:举重训练椅 阅读:251

问鼎娱乐下载入口 装有运动装置的多功能健身椅的制作方法

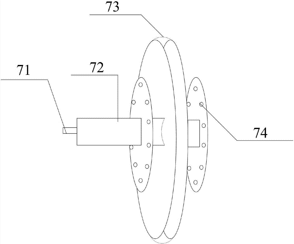
专利名称:一种配备锻炼装置的多功能健身椅的制作方法 技术领域: 本实用新型涉及一种日常生活用品,特别是一种配备运动装置的多功能健身椅。 背景技术: 人们追求健身的方式多种多样,市面上有各种各样具有健身功能的椅子,例如有现有技术中国专利申请号01253650.4“一种电动椅子”,其利用动力系统及传动机构将近乎水平的驱动力传送给椅子,使整个椅...
日期: 栏目:举重训练椅 阅读:257

问鼎app官网下载安装 一种多功能健身椅的制作方法

一种多功能健身椅的制造方法 【技术领域】 [0001] 本发明涉及一种健身椅,特别涉及一种多功能健身椅。 【背景技术】 [0002] 经常性的健身运动对保持身心健康有很好的作用,然而由于种种原因,人们可能无法到健身房锻炼身体,因此家庭健身日益流行,人们纷纷购买健身器材进行家庭健身,然而目前的健身器材大多功能单一,体积较大,价格昂贵,购买这...
日期: 栏目:举重训练椅 阅读:258

问鼎娱乐app苹果下载 多功能健身椅的制作方法

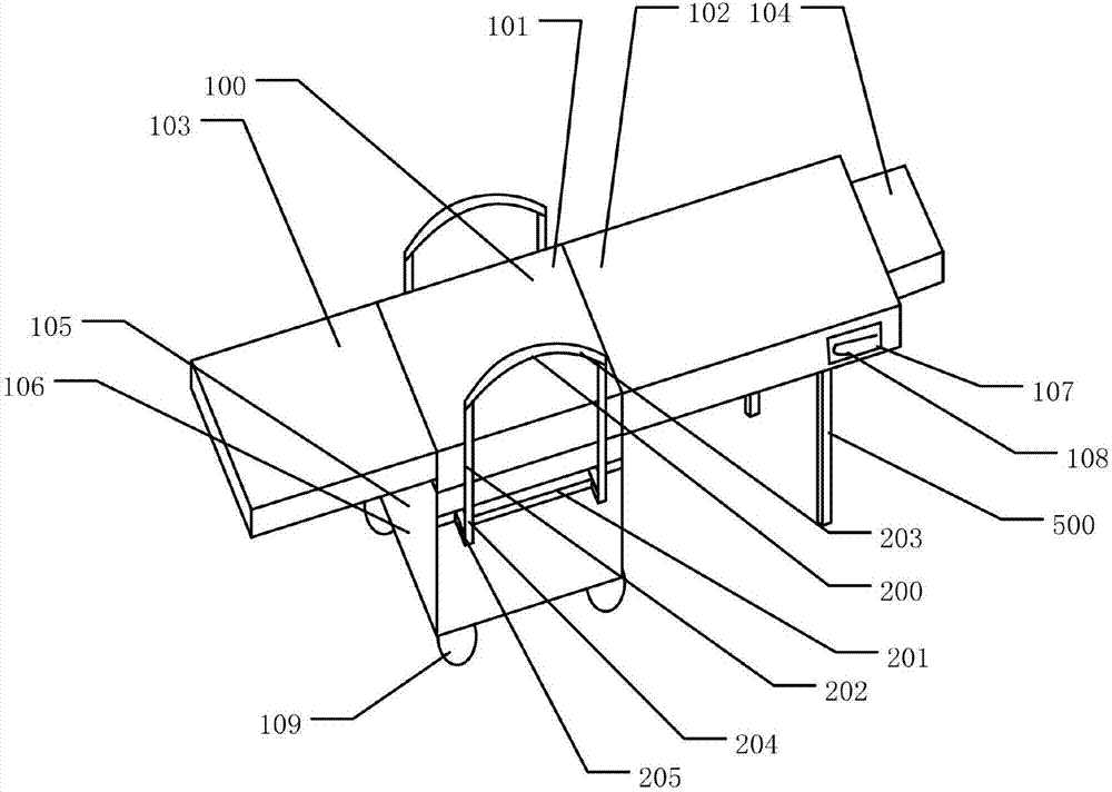
技术特点: 技术摘要 本发明公开了一种多功能健身椅,包括:椅子,包括座部和靠背,座部内设有夹层,夹层内设有活动拉板,拉板连接第一推动机构,使拉板可前后移动;靠背可相对座部转动连接于座部上方,靠背上方设有可相对靠背转动连接的头枕;座部下方设有收纳盒;收纳盒两侧靠近上方对称设有扶手,扶手可拆卸并沿收纳盒滑动;收纳盒内设有跑步装置,跑步装置可折...
日期: 栏目:举重训练椅 阅读:270

问鼎app官方下载 一种多功能健骑椅的制作方法

本实用新型属于健身器材领域,具体涉及一种多功能健身骑行椅。 背景技术: 随着人们生活水平的提高,私家车逐渐进入到每个家庭,自行车也逐渐从交通工具变成了运动工具,骑行是很多人喜欢的活动,既可以娱乐,又可以健身。然而,我们在使用现有的自行车进行健身时,往往受限于空间和场地,不得不放弃。现有的健身车功能单一,智能化程度低,使用寿命短,安全隐患...
日期: 栏目:举重训练椅 阅读:250

问鼎app官网下载安装 健身椅及其工作方法

专利名称:健身椅及其工作方法 技术领域: 本发明涉及家具中的椅子,特别涉及一种具有健身功能的椅子及其工作方法。 技术背景 椅子满足了人们基本的坐姿需求,在日常生活和工作中起着非常重要的作用。但是,很多经常使用电脑或看电视的人,长时间坐在椅子上。长时间坐在椅子上会给人体带来很多不健康的症状,如颈椎、腰椎劳损、肥胖等。发明人在对现有椅子的使用...
日期: 栏目:举重训练椅 阅读:358