问鼎app官方下载 一种折叠方便的健身椅的制作方法

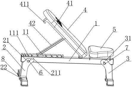
1.本实用新型涉及健身器材技术领域,特指一种易于折叠的健身椅。 背景技术: 2、健身椅是常见的健身器材,常用于仰卧起坐、哑铃(杠铃)举等练习。现有的健身椅为了便于运输,多采用分体包装的方式运输。这就需要用户自己按照说明书组装一些零部件,给用户带来很大的不便。对于生产厂家来说,由于采用分体包装,如果生产零部件之间互换性差,存在质量风险,也...
日期: 栏目:举重训练椅 阅读:288

问鼎娱乐app苹果下载 2024年米兰展新品,A to Z不完全指南

第 62 届米兰家具展 Salone del Mobile 正式开幕,当然也有许多新品展出。新造型、新材料、新面孔、新概念,艺术与设计碰撞出独一无二的创意组合。请收下这份不完整的新品指南,向意大利家具制造工艺和设计大师致敬! Yuzu 扶手椅体型虽小,但个性十足。今年,它以黄橙色人造皮草内饰的新版本亮相。扶手椅的造型融合了 Arf...
日期: 栏目:举重训练椅 阅读:280

问鼎娱乐官网下载 【千瓜行研】2022年11.11小红书保健品行业数据研报

成分、功效依然是行业笔记的关注重点,但在今年双十一笔记的热词中,诸如“口味”“零食”等词汇已经进入保健品行业的视野。 千瓜推测,保健品零食化趋势正在逐渐显现,结合现代人“朋克养生”的理念,相关品牌或将进一步提升产品的口感和质感,更重要的是营销场景的营造、宣传内容的打造,可以尝试将功效与美味、趣味性结合起来,贴近用户生活,迎合喜好。 摘自...
日期: 栏目:举重训练椅 阅读:294

问鼎娱乐电子游戏 长沙一小区幼儿坐摇椅摔死 物业拆光健身器材

长沙小区儿童从摇椅上坠落身亡,物业公司拆除所有健身器材 2014.09.23 09:30:51 三湘都市报 摘要:小区健身摇椅夺走3岁男童生命,母婴店门前摇椅“咬”断儿童右手中指。近期本市发生的两起惨剧,固然反映出相关部门监管不力,但监护人的责任也不容推卸,看好孩子,别让悲剧再发生! 核心提示 小区健身摇椅夺去3岁男童生命,母婴店门前摇...
日期: 栏目:举重训练椅 阅读:274

问鼎娱乐 户外自行车骑行趣味活动设计策划方案范文 篇2

参加本次活动者均了解参与户外骑行活动的风险,并视为愿意承担选择参与户外活动所带来的一切责任与风险。 户外自行车骑行趣味活动设计策划方案样本文章2 1.活动路线: 中心广场(起点)——南洋广场——南洋电影院——上海广场——人力资源和社会保障局——开发区大厦——西藏中心——青少年活动中心——房产交易中心——楼东酒店——建设银行——中心广场(终...
日期: 栏目:举重训练椅 阅读:248

问鼎娱乐下载链接入口 求问什么牌子的健身椅好

你好, 1. 力健 Life Fitness 是国民健身器材品牌,旗下最出名的产品就是 Life Fitness 跑步机,跟健身椅类似,主要分为 Elevation 和 Integrity 两个系列,每款健身器材都配有防震系统,当然健身椅也不例外。 2.泰诺健 Technogym 是唯一进入国际市场的欧洲品牌,但其发展速度无人能及。除了是...
日期: 栏目:举重训练椅 阅读:257

问鼎娱乐 运动是富养自己最好的方式,乐歌智能健身椅让运动更加轻松!

知乎上有一个著名问题:“那些坚持锻炼的人现在怎么样了?” 针对这个问题,一位知名女演员给出了完美的答案。 网友们对她的状态惊叹不已,不少人感叹已经40岁了却拥有20岁状态,仿佛压碎了时间的沙漏,越来越美了。 为了让自己变得更优秀,她开始坚持锻炼身体,并且在任何运动上都表现出色。 正是因为她长期坚持运动,不断突破自我,才打破了时间衰老的魔咒...
日期: 栏目:举重训练椅 阅读:272

问鼎娱乐 [发明专利]一种医疗用腰间盘突出病人锻炼按摩设备

本发明涉及一种运动按摩装置,具体涉及一种医用腰椎间盘突出症患者运动按摩装置。所要解决的技术问题是提供一种医用腰椎间盘突出症患者运动按摩装置,适合患者运动按摩,能够使患者进行主动有效的运动,提高患者运动兴趣。一种医用腰椎间盘突出症患者运动按摩装置,包括底座、滑管、第一滑块、第一弹簧、第一支撑杆、躺板、滚轮、第二滑块、第一滑轨、楔块、第二弹簧...
日期: 栏目:举重训练椅 阅读:289

问鼎娱乐下载入口 健身房器械维护保养及使用方法

1.健身房器材保养方法: 1. 定期清洁:使用健身器材会产生大量汗水和皮肤油脂。 器械上会残留物质,长期不清洁会导致细菌滋生,加速器械的磨损。 因此,每天使用结束后应使用湿布擦拭仪器表面,并在适当的时候定期进行专业清洁。 使用清洁剂彻底清洁。 2. 润滑与保养:某些设备上的运动部件需要定期润滑,以确保平稳运行。 对于需要润滑的部位问鼎娱乐...
日期: 栏目:举重训练椅 阅读:261

问鼎app官网下载安装 健身器材使用说明及维护保养常识

在本文中,我们整理了一些关于健身房健身器材的使用和保养知识,供大家参考。 1、进入健身室请穿运动鞋,避免损坏器材及木地板。在健身室锻炼时,提倡文明健身,礼貌谦让,不喧哗,不吸烟,不随地吐痰,不乱扔果皮等杂物,违者将被处以罚款。 2、为了您的健康,请在饭后一小时后运动。使用健身器材前应先热身,运动时请勿大量饮水,以免增加心肺负担。 3、请按...
日期: 栏目:举重训练椅 阅读:305